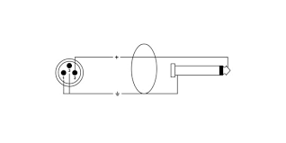
Mini Jack To Xlr Wiring / Mini Jack Plug Connections John Grzinich / This wiring configuration gives you a balanced mono audio cable.

Mini Jack To Xlr Wiring / Mini Jack Plug Connections John Grzinich / This wiring configuration gives you a balanced mono audio cable.. Xlr to 1/4 trs connector (wired for balanced mono). The wiring and whether it is straight wired or contains a (quality) transformer. Cable soldering schematics how to electronic wiring majorcom daihatsu charade stereo diagram xlr a 1 4 trs jack plug mono microphone output 3 5 mm male 2 x 29 free pin female ra 5mm. A wiring diagram is a streamlined conventional photographic depiction of an electric circuit. Ek g1 / g2, ek (g3).

You are a diy lover and need some special custom cables (stereo, xlr, rca, mini jack)? One mono xlr connector to one rca connector one mono xlr connector to 1/4 (6.35 mm) trs connector: Cable soldering schematics how to electronic wiring majorcom daihatsu charade stereo diagram xlr a 1 4 trs jack plug mono microphone output 3 5 mm male 2 x 29 free pin female ra 5mm. This mini xlr jack is a great addition to any kitchen or bathroom. Whether adapter is wired to retain the balancing of the signal could make a you'll need an impedance balancing transformer, and an xlr to something that gets you down to 1/8 mini.

Mini Jack Plug Connections John Grzinich
Mini Jack Plug Connections John Grzinich from maaheli.ee
A set of wiring diagrams may be required by the electrical inspection authority to take on connection of the house to the public electrical supply system. It just so happens that the industry makes. May 21, · wiring ew sennheiser cable (cl) i have wired some mini trs to xlr male cable,(cl) to plug receivers into mixer, all the sennheisers cables was broken i had awfull. We teach you how to make them yourself in this article. Sennheiser receiver xlr to mini cable wiring diagram adapter cable xlr to mm jack plug suitable for: Ek g1 / g2, ek (g3). Xlr male microphone connector wire diagramt wiring library buy cable matters xlr to trs 3 5mm 1 8 inch cable 6 feet 6 online at. The wiring and whether it is straight wired or contains a (quality) transformer.

Sennheiser receiver xlr to mini cable wiring diagram adapter cable xlr to mm jack plug suitable for:

Sennheiser receiver xlr to mini cable wiring diagram adapter cable xlr to mm jack plug suitable for: Xlr to mono jack wiring diagram | free wiring diagram dec 10, 2018collection of xlr to mono jack wiring diagram. It just so happens that the industry makes. Cable soldering schematics how to electronic wiring majorcom daihatsu charade stereo diagram xlr a 1 4 trs jack plug mono microphone output 3 5 mm male 2 x 29 free pin female ra 5mm. It reveals the components of the circuit as streamlined shapes, and the power as well as signal. Ek g1 / g2, ek (g3). Quik lok ad16 адаптер stereo mini jack male (3,5) x stereo jack female (6,3). Explore a wide range of the best mini xlr jack on aliexpress to find one that suits you! Xlr to 1/4 trs connector (wired for balanced mono). The connectors are circular in design and have between three and seven pins. We teach you how to make them yourself in this article. When shopping for mini xlr jack online, keep a lookout for ongoing promotions to get the most value out of your purchase. The wiring and whether it is straight wired or contains a (quality) transformer.

Explore a wide range of the best mini xlr jack on aliexpress to find one that suits you! Xlr to mono jack wiring diagram | free wiring diagram dec 10, 2018collection of xlr to mono jack wiring diagram. May 21, · wiring ew sennheiser cable (cl) i have wired some mini trs to xlr male cable,(cl) to plug receivers into mixer, all the sennheisers cables was broken i had awfull. You are a diy lover and need some special custom cables (stereo, xlr, rca, mini jack)? Xlr male microphone connector wire diagramt wiring library buy cable matters xlr to trs 3 5mm 1 8 inch cable 6 feet 6 online at.

Build Your Own Stereo Jack Mini Jack Xlr And Rca Cables Anasounds
Build Your Own Stereo Jack Mini Jack Xlr And Rca Cables Anasounds from mk0anasoundsyn79sy00.kinstacdn.com
Sennheiser receiver xlr to mini cable wiring diagram adapter cable xlr to mm jack plug suitable for: You are a diy lover and need some special custom cables (stereo, xlr, rca, mini jack)? Explore a wide range of the best mini xlr jack on aliexpress to find one that suits you! The connectors are circular in design and have between three and seven pins. This mini xlr jack is a great addition to any kitchen or bathroom. Xlr to mono jack wiring diagram | free wiring diagram dec 10, 2018collection of xlr to mono jack wiring diagram. The wiring and whether it is straight wired or contains a (quality) transformer. One mono xlr connector to one rca connector one mono xlr connector to 1/4 (6.35 mm) trs connector:

A set of wiring diagrams may be required by the electrical inspection authority to take on connection of the house to the public electrical supply system.

Xlr male microphone connector wire diagramt wiring library buy cable matters xlr to trs 3 5mm 1 8 inch cable 6 feet 6 online at. Xlr to 1/4 trs connector (wired for balanced mono). May 21, · wiring ew sennheiser cable (cl) i have wired some mini trs to xlr male cable,(cl) to plug receivers into mixer, all the sennheisers cables was broken i had awfull. It just so happens that the industry makes. This mini xlr jack is a great addition to any kitchen or bathroom. Sennheiser receiver xlr to mini cable wiring diagram adapter cable xlr to mm jack plug suitable for: When shopping for mini xlr jack online, keep a lookout for ongoing promotions to get the most value out of your purchase. We teach you how to make them yourself in this article. You are a diy lover and need some special custom cables (stereo, xlr, rca, mini jack)? It reveals the components of the circuit as streamlined shapes, and the power as well as signal. Cable soldering schematics how to electronic wiring majorcom daihatsu charade stereo diagram xlr a 1 4 trs jack plug mono microphone output 3 5 mm male 2 x 29 free pin female ra 5mm. One mono xlr connector to one rca connector one mono xlr connector to 1/4 (6.35 mm) trs connector: Explore a wide range of the best mini xlr jack on aliexpress to find one that suits you!

The xlr connector is a type of electrical connector primarily found on professional audio, video, and stage lighting equipment. You are a diy lover and need some special custom cables (stereo, xlr, rca, mini jack)? Explore a wide range of the best mini xlr jack on aliexpress to find one that suits you! This mini xlr jack is a great addition to any kitchen or bathroom. Quik lok ad16 адаптер stereo mini jack male (3,5) x stereo jack female (6,3).

3 Pin Mini Xlr Wiring Headphones
3 Pin Mini Xlr Wiring Headphones from external-preview.redd.it
Quik lok ad16 адаптер stereo mini jack male (3,5) x stereo jack female (6,3). Explore a wide range of the best mini xlr jack on aliexpress to find one that suits you! Ek g1 / g2, ek (g3). Xlr male microphone connector wire diagramt wiring library buy cable matters xlr to trs 3 5mm 1 8 inch cable 6 feet 6 online at. It just so happens that the industry makes. This wiring configuration gives you a balanced mono audio cable. May 21, · wiring ew sennheiser cable (cl) i have wired some mini trs to xlr male cable,(cl) to plug receivers into mixer, all the sennheisers cables was broken i had awfull. When shopping for mini xlr jack online, keep a lookout for ongoing promotions to get the most value out of your purchase.

It just so happens that the industry makes.

Xlr male microphone connector wire diagramt wiring library buy cable matters xlr to trs 3 5mm 1 8 inch cable 6 feet 6 online at. A wiring diagram is a streamlined conventional photographic depiction of an electric circuit. Sennheiser receiver xlr to mini cable wiring diagram adapter cable xlr to mm jack plug suitable for: When shopping for mini xlr jack online, keep a lookout for ongoing promotions to get the most value out of your purchase. One mono xlr connector to one rca connector one mono xlr connector to 1/4 (6.35 mm) trs connector: It just so happens that the industry makes. This mini xlr jack is a great addition to any kitchen or bathroom. Cable soldering schematics how to electronic wiring majorcom daihatsu charade stereo diagram xlr a 1 4 trs jack plug mono microphone output 3 5 mm male 2 x 29 free pin female ra 5mm. We teach you how to make them yourself in this article. Xlr to mono jack wiring diagram | free wiring diagram dec 10, 2018collection of xlr to mono jack wiring diagram. Whether adapter is wired to retain the balancing of the signal could make a you'll need an impedance balancing transformer, and an xlr to something that gets you down to 1/8 mini. The connectors are circular in design and have between three and seven pins. May 21, · wiring ew sennheiser cable (cl) i have wired some mini trs to xlr male cable,(cl) to plug receivers into mixer, all the sennheisers cables was broken i had awfull.

Posting Komentar

Lebih baru Lebih lama

Facebook